学位论文对表的要求(GB/T7713.1一2006):
5.3.3表 表应具有“自明性”。
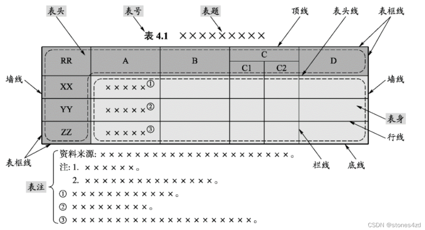
表应有编号。表的编号由“表”和从“1”开始的阿拉伯数字组成,表较多时,可分章编号。
表宜有表题,表题即表的名称,置于表的编号之后。表的编号和表题应置于表上方。
表的编排,一般是内容和测试项目由左至右横读,数据依序竖读。
表的编排建议采用国际通行的三线表。
如某个表需要转页接排,在随后的各页上应重复表的编号。编号后跟表题(可省略)和“(续)”,置于表上方。
续表均应重复表头。
国际通行三线表:整体符合三线表的基本格式即可,具体格式要求并没有找到一个通用标准,这里以多数高校论文通行标准进行制作。
多数高校里建议表格里的粗线条为1.5磅,细线条为0.75磅[1]。“三线表”不一定只有3条线,必要时可加辅助线,但无论加多少条辅助线,仍称做“三线表”。


字体和段落要求[2]:


跨页续表:光标在跨页的第一行,Ctrl + shift + enter (拆分为2个表) ,腾出续表标题[3]。上表底线设置0.75磅,下表添加行,设置与上表一样的标题行。
续表格式(居中):
表 3‑1 某某某(续表)
Table 3‑1 XXXXX (continued)
参考文章
- 1.论文中的三线表及表格规范 ↩︎
- 2.三分钟快速制作论文三线表 ↩︎
- 3.30s制作三线表及续表 ↩︎